产品中心

Products

产品中心

功能类别

 

1) 提前放电,抢先引雷入地,大大增加保护半径。
2) 精确落雷,避免雷击点落于非避雷针体的概率。
3) 非避雷针体的概率。3)同等安装高度,相对普通避雷针的保护半径要大数倍。
4) 纯物理型结构,无电子元器件、不老化、免维护。
5) 安装简单,重量轻,免装屏蔽电缆。
6) 美观造型,不锈钢材质,适用于各种环境。

命名规则



产品参数

最大放电电流(KA) 400         
抗风强度 > 60m/s                    
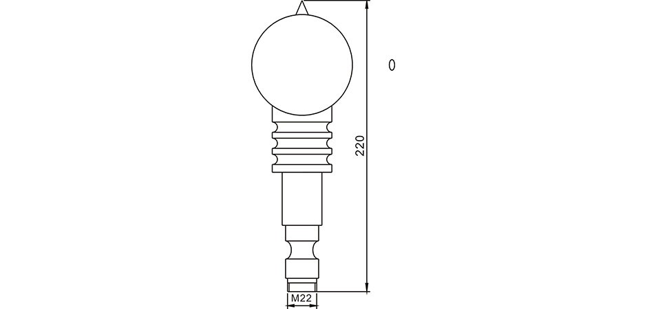
螺纹直径(mm) 22
总高度 220
触发器直径(mm) φ70

工作原理


雷云电荷分布,90%是下层聚集负电荷,当电荷聚集带一定程度,雷雨对大地相当于一个大电容,在大气中存在极大的场强,有时可几百伏/厘米,电离型避雷针正是利用这一现象,如果避雷针是安装于一百米的建筑物顶部,就有几十万伏的电位差,造成强烈火花放电,从而使避雷针顶部的空气电离,产生大量离子,这些自由离子因电场力作用迅速向上运动,是的雷云何避雷针之间的绝缘距离缩短,场强更大,空气进一步电离,直到发生先导放电和主放电。由于其特殊设计的电离过程使之能较其他邻近高点提前产生上行先导,从而达到最先放电的目的。

外形尺寸



相似产品

如果您还有疑问或想了解更多信息,请与我们保持联系!