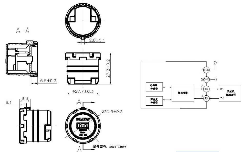
TBS - 1 cleanliness is a turbidity sensor and conductivity sensor of cleanliness, and general household sensors difference, is that the water quality numerical using UART interface communication, is a digital home cleanliness of the structure of sensor. The design of the sensing surface of the plane can reduce the contamination and attach to the sensing surface more effectively, so that the product performance is more stable and the service life is longer.
Dimension:
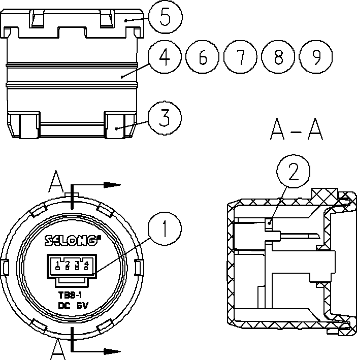
Structure:
|
Item |
Name |
Item |
Name |
|
1 |
Connector |
6 |
P3 cover |
|
2 |
PCB |
7 |
House |
|
3 |
Electrode |
8 |
Screw |
|
4 |
SMD LED |
9 |
Cover |
|
5 |
SMD LED |
|
|
Key components:
|
Item |
Name |
Specification |
Supplier |
Certificate No. |
Environmental friendly |
|
1 |
Connector |
SN20-04WPB |
TUOFU |
|
YES |
|
2 |
PCB |
FR-4 |
WANBEN |
|
YES |
|
3 |
Electrode |
SUS303 |
NANMAO |
|
YES |
|
4 |
House |
PP |
JINGUANG |
|
YES |
|
5 |
Cover |
PA66-20GF |
JINGUAN |
|
YES |
|
6 |
P3 cover |
PA66 |
JINGUAN |
|
YES |
|
7 |
Luminous tube |
1206 |
YIGUANG |
|
YES |
|
8 |
Receiving tube |
1206 |
|
|
YES |
Electrical Performance :
1. Rated voltage:DC5V
2. Rated current:<50mA
3. Working temperature:4°C~65°C
4. Storage temperature:-20°C~90°C
5. Turbidity range:0~2000NTU
6. Conductivity range:0~2000uS/cm
7. Insulation resistance: insulation resistance between conductive part and exposed non-conductive part>100MQ
8. Electric strength: The leakage current is at 0.5mA gear. Apply 1500V, 50Hz or 1800V/s between the conductive part and the shell for 1 min. There should be no flashover or breakdown.
Environment performance:
1. Low temperature: According to GB/T 2423. 1 Test A ‘ The low temperature test method of the temperature gradient of the non-heat-dissipating test sample’, place the sensor in an environment of -20±2°C for 90 h, and recover for 0.5 h. There should be no cracking on the plastic parts. the turbidity water (0NTU) output change value does not exceed ±50NTU and meets stability requirements, the conductivity (600±5%uS/cm or tap water) output change value does not exceed ±20% and meets stability requirements. (Measure the turbidity and conductivity data before and after the test conditions.)
2. High temperature resistance: According to GB/T 2423. 2 Test B‘ The high temperature test method of the temperature gradient of the non-heat-dissipating test sample’, put the sensor in an environment of 85 ± 2 °C for 90 h, and recover for 0.5 h. There should be no cracking on the plastic parts. the turbidity water (0NTU) output change value does not exceed ±50NTU and meets stability requirements, the conductivity (600±5%uS/cm or tap water) output change value does not exceed ±20% and meets stability requirements. (Measure the turbidity and conductivity data before and after the test conditions.)
3. Thermal shock: According to GB/T 2423. 22 Na ‘Temperature change test method with specified change time’, put the sensor at high temperature 85±2°C for 30min; normal temperature 20±2°C for 30min; low temperature -20±3°C for 30 minutes. After a total of 20 cycles and 0.5h recovery, there should be no cracking on the plastic parts. The turbidity water (0NTU) output change value does not exceed ±50NTU and meets stability requirements, the conductivity (600±5%uS/cm or tap water) output change value does not exceed ±20% and meets stability requirements. (Measure the turbidity and conductivity data before and after the test conditions.)
4. Constant humidity and temperature test: According to the method specified in GB/T 2423. 3, place the turbidity sensor in an test chamber with a temperature of 40±2°C and a relative humidity of 95% for 168 hours. The insulation resistance should be greater than 2MQ in the chamber. After 30min recovery, there should be no cracking on the plastic parts. the turbidity water (0NTU) output change value does not exceed ±50NTU and meets stability requirements, the conductivity (600±5%uS/cm or tap water) output change value does not exceed ±20% and meets stability requirements. (Measure the turbidity and conductivity data before and after the test conditions.)
Mechanical performance:
1. Vibration: Vibration frequency 10-55-10Hz amplitude 3mm X, Y and Z directions for 10 minutes each, there should be no cracking on the plastic parts. the turbidity water (0NTU) output change value does not exceed ±50NTU and meets stability requirements, the conductivity (600±5%uS/cm or tap water) output change value does not exceed ±20% and meets stability requirements. (Measure the turbidity and conductivity data before and after the test conditions.)
2. Salt spray: Place the sensor in a salt spray test box conforming to GB. Use a 5% salt solution to spray the sensor for 24 hours in an environment of 35±2°C. After taking it out from the box, wash the sensor surface thoroughly with water and place it at room temperature of 23°C±2°C for 24 hours. There should be no cracking on the plastic parts. the turbidity water (0NTU) output change value does not exceed ±50NTU and meets stability requirements, the conductivity (600±5%uS/cm or tap water) output change value does not exceed ±20% and meets stability requirements. (Measure the turbidity and conductivity data before and after the test conditions.)
3.The product drops from a height of 80cm in any direction onto a 20mm thickness wooden plate for three times. After the three drops, there should be no cracking on the plastic parts. the turbidity water (0NTU) output change value does not exceed ±50NTU and meets stability requirements, the conductivity (600±5%uS/cm or tap water) output change value does not exceed ±20% and meets stability requirements. (Measure the turbidity and conductivity data before and after the test conditions.)
4. Life test: After the sensor is installed in the test fixture, fill the fixture with test liquid (clean water) and place it in a static state (ambient temperature: 25±2°C). The water is exchanged every 24 hours. The sensor is turned on for 3 seconds and then turned off for 3 seconds, and the test continues for 21 days. After test, there should be no cracking on the plastic parts. the turbidity water (0NTU) output change value does not exceed ±80NTU and meets stability requirements, the conductivity (600±5%uS/cm or tap water) output change value does not exceed ±40% and meets stability requirements. (Measure the turbidity and conductivity data before and after the test conditions.)
Key parameters and processes
1.consistency/stability inspection:
1.1. Consistency: place the sensor on test fixture,and fill the fixture with test liquid (clean water). Power on for 15s,then measure the value every 3s, totally 10 values.Remove the max value and min value,then average the rest values and record it in sheet.
|
turbidity : |
Item(T=25±2°C) |
min value |
average |
max value |
|
Water signal I |
40 |
90 |
140 |
|
|
Water signal II |
1250 |
1400 |
1550 |
Note:I clean water or tap water
II Turbidity 1000±10NTU (the test solution uses tap water and milk mixture)
|
conductivity: |
Item(T=25±2°C) |
min value |
average |
max value |
|
Water signal III |
1250 |
1400 |
1550 |
|
|
Conductivity signal IV |
1950 |
2150 |
2350 |
NConductivity 600±3%uS/cm (the test solution uses tap water and laundry detergent mixture)
Conductivity 1500±3%uS/cm (the test solution uses tap water and laundry detergent mixture)
1.2. Stability: place the sensor on test fixture,and fill the fixture with test liquid (clean water). Power on for 15s,then measure the value every 3s, totally 10 values.Remove the max value and min value,then average the rest values and record it in sheet.
The max turbidity and min turbidity deviation <20
The max conductivity max and min conductivity deviation <70
RoHS requirements
comply with RoHS requirements
Packing form of incoming materials:
Every 60pcs on 1 layer. Pack 8 layers (480pcs) in one carton box.
Drawings
